www.skcc.ac.th



 

 
 
 
 
 
 
 


    

 





       

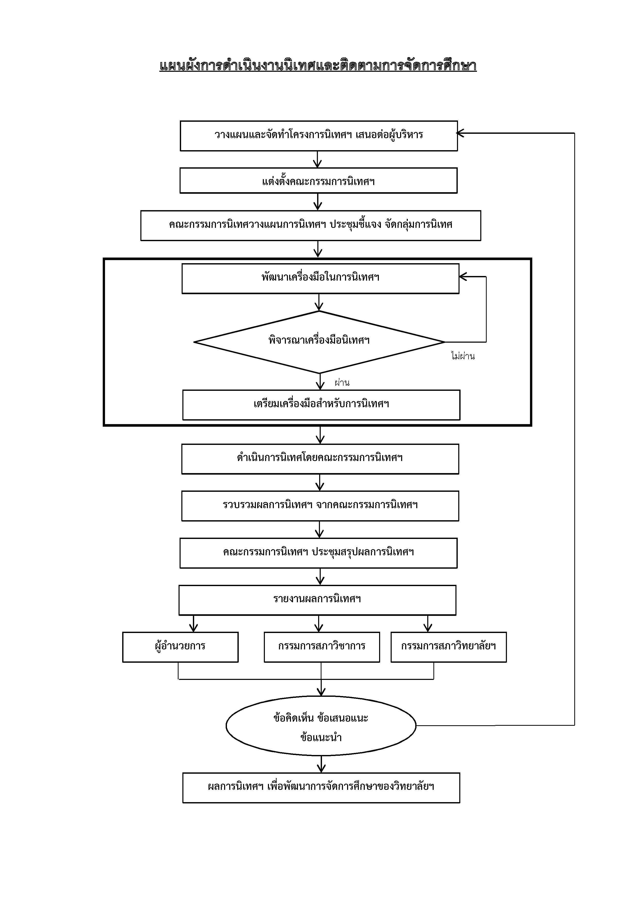
                             แผนผังแสดงกิจกรรมการนิเทศและติดตามการจัดการศึกษา                 

เครื่องมือนิเทศ 1/2557
คำสั่งนิเทศ 1/2557
กำหนดการนิเทศ 1/2557
คณะผู้นิเทศ 1/2557
ผลการนิเทศ 1/2557
   
   
   
   


                             

 

http://se-ed.net/plearn • Last updated on • [email protected]@gmail.com